
来源:独角金融股合网
作者 |郑理来源
各家公募二季度报告陆续揭开面纱,1.2万亿公募巨头天弘基金管理有限公司(下称“天弘基金”),却被旗下两只光伏基金拖入业绩泥潭。
截至6月底,天弘中证光伏产业ETF规模从一季度的21.28亿增长至22.14亿,天弘中证光伏发起式A和C,分别从一季度的17.09亿元、51.79亿元降至二季度末的16.14亿元、51.44亿元。
规模的变动只是表象,业绩的持续亏损才是真正的“痛点”。天弘中证光伏产业ETF从一季度亏损1.09亿扩大到二季度亏损1.17亿元;天弘中证光伏产业发起式基金二季度亏损3.76亿元,较前一季度亏损的3.91亿元有所收窄。拉长时间看,两只光伏产品已经连续亏损3年半,合计亏损111.57亿元。
管理光伏基金的祁世超,虽然有10年从业经验,但接手才半年。他能做的是优化跟踪误差(二季度控制在0.5%以内),却无法改变“被动跟踪”的本质。
更值得关注的是天弘基金在权益类业务上的短板。目前,公司管理规模在全市场198家基金公司中排名第5位,而权益类基金规模不足200亿元,排第46位。旗下的余额宝规模高达8080.94亿,相比之下,天弘基金的权益业务发展滞后也愈发明显,而两只光伏基金的持续亏损,让这一短板更加突出。
1
因何亏损超百亿?
分别回顾一下2只光伏产品的基本面。
天弘中证光伏产业ETF在2021年2月4日成立,成立以来截至上半年末该产品累计收益率为-43.12%。
最初该产品规模4.17亿元,当年年末冲上11.73亿,此后虽然基金规模震荡但也在每年年末实现增长,2022年、2023年持续增长,基金规模分别为16.93亿元、21.82亿元,到了2024年末,其规模下滑至19.03亿元,截至2025年6月其规模微幅增至22.14亿元。
截至2025年二季度末的三个月内,该只基金收益率为-5.89%,同期业绩比较基准收益率为-6.44%,过去三年,该基金收益率为-59.82%,同期业绩基准收益率为-61.65%,无论二季度还是过去三年该基金均跑赢业绩比较基准。
再看天弘中证光伏产业A和C于2021年1月末成立至今,已经走过4年半的时间,产品成立后便吸引众多基民纷纷涌入,并在当年年末规模就站上百亿台阶,达到137.21亿元,一时间成为天弘基金规模最大的百亿权益类产品。
但好景不长。2022年末、2023年末、2024年末其规模震荡下滑。到了2025年6月末股合网,天弘中证光伏产业A和C规模已经跌落至16.14亿元和51.44亿元,合计规模67.58亿元,较2021年年末其规模已经缩水超50.74%。
截至2025年6月末,天弘中证光伏A和C在过去三个月的净值增长率-5.24%、-5.29%,过去三年净值增长率分别为-46.44%、-46.76%,同期业绩基准增长率为-48.66%,同样跑赢基准。
尽管跑赢基准,但两只基金过去三年半的时间全部处于亏损状态。
其中,天弘中证光伏产业发起式基金2022年、2023年、2024年分别亏损21.22亿元、49.38亿元、14.67亿元,2025年两个季度合计亏损7.67亿,总计已经亏损92.94亿元。天弘中证光伏产业ETF分别亏损1.82亿、10.71亿、3.84亿,再加上截至2025年6月末连续两个季度亏损的2.26亿元,合计三年半亏损18.63亿元,总计两只光伏产品三年半的时间亏损111.57亿元。
图源:罐头图库
光伏产业市场波动影响,在市场整体下行的情况下,即使紧密跟踪指数,也难以避免净值的下跌。
另一方面,不得不提到两只产品近年频繁踩雷ST股。以2024年二季度为例,天弘中证光伏产业A进入ST易事特前十大股东,持仓增至1075.19万股。
易事特集团股份有限公司(易事特,300376)由于财务造假于2024年7月9日被实施“其他风险警示”。
根据公告,2017年至2021年,易事特涉嫌通过不具有商业实质的虚假贸易业务、融资性代采业务、代理业务和数据中心集成业务虚增营业收入40.74亿元、虚增营业成本35.25亿元、虚增利润总额0.34亿元。
2024年一季度,易事特的业绩明显恶化,营业收入6.69亿元,同比下滑51.79%,净利润4603.01万元,同比下滑57.56%。同年二季度营收和净利润再次下滑,营收9.61亿元,同比下降20.62%,净利润7860.58万元,同比下降60.94%。
另一只股票ST爱康于2024年8月12日被摘牌。该公司曾在2021年收获18次涨停,股价涨幅高达86.63%。然而在此期间控股股东及关联方不断通过减持套现,并利用股权质押“金蝉脱壳”。
2021年二季度,天弘中证光伏ETF在高点买入了爱康科技,并在2023年四季度危机爆发前清仓,幸运的避免了吃31个跌停板的惨剧。但爱康科技在被ST之前,股价已经腰斩,天弘中证光伏最终亏损出局。
从公开信息来看,天弘中证光伏ETF已经踩雷了ST爱康和ST易事特两只垃圾股,该基金自成立以来收益率为-35.13%,近三年收益率为-55.15%。
天弘基金两只光伏产品成立至今前十大重仓股中,变化不大,始终执着对隆基绿能、阳光电源、TCL中环、通威股份、特变电工的持有。其他股票中,包括晶澳科技(2021年四季度)、TCL科技(2023年二季度)、正泰电器(2023年四季度)进入前十大重仓股至今。从调仓动作看,前十大持仓股的持股数量也只是微幅调整。
从股价波动看股合网,隆基绿能、阳光电源、TCL中环、通威股份、特变电工在2021年1月29日每股价格分别为53.99元、72.98元、21.33元、41.09元、7.9元/股。截至2025年6月30日,上述股票对应的收盘价格分别为15.02元、63.73元、7.68元、16.75元、11.68元。仅特变电工总计股价涨幅为47.85%。其余4只股票价格均出现不同程度的亏损。
前十大重仓股四年变化不大,导致行业在上升期时一荣俱荣,行业波动时纷纷下跌,同时两次踩雷ST股,也让天弘基金的内控合规遭受考验。今年下半年,天弘旗下的2只光伏基金业绩又能否有所好转?
2
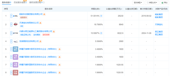
产品线面临挑战天弘基金成立于2004年,其控股股东为蚂蚁集团,持股51%;此外天津信托、君正集团、芜湖高新投资以及员工持股平台分别持股16.8%、15.6%、5.6%、11%。
图源:天眼查背靠蚂蚁集团,天弘基金被业内认为是最具互联网精神的公募基金公司之一,其中,最为知名的便是2013年天弘基金与阿里联手在互联网平台推出的余额宝,产品一经问世后收益率一路攀升,打造出了一款现象级国民理财产品。截至2015年底,天弘基金资产管理业务总规模(含专项专户)已经高达1.07万亿元,其中包括余额宝在内的公募产品规模为6739亿元,仅余额宝的持有人数就超过2.6亿人。2017年4月,成立4年的余额宝成为全球最大的货币基金。2018年是余额宝发展的鼎盛时期,其规模达1.69万亿元。截至2025年上半年,天弘余额宝总规模已降至8080.94亿元,较一季度末的8177.34亿元,环比下降1.17%。收益方面,天弘余额宝货币在连续6年收益率超2%后,2020年以1.85%的收益率结束“2”时代。虽然经过一段时期的震荡此后又升至2%以上的收益率,但截至7月22日,天弘余额宝货币年化回报已降至1.32%。
图源:天天基金网靠余额宝打天下已成为过去,天弘基金不得不寻找新的发展路径,开始迈入“后余额宝时代”。2015年起,天弘基金开始战略布局指数基金业务,并在2019年进军ETF领域,提出“国民ETF”概念,希望能够复制余额宝的辉煌。不过,尽管天弘基金进军ETF已经超过5年的时间,但规模占比仍然低于货币型、债券型和股票型基金。截至2025年二季度末,天弘基金在管基金数量223只(同类基金合并计算),在管基金总规模1.24万亿元,其中货币基金规模8540.86亿元,占比7成,依然显示出绝对的核心;债券型基金规模2071亿元,排名第二,指数型基金规模1543.3亿元,排名第三,其中ETF基金规模797.9亿元;另外混合型基金规模仅185.61亿元。对比29只ETF产品的业绩表现,以近一年业绩为例,总计22只产品收益率为正,其中天弘中证沪港深云计算产业ETF的业绩表现最好,近一年收益率为69.48%,收益率排名第二和第三的分别为:天弘恒生沪深汇创新药精选50ETF和天弘中证1000增强策略ETF,收益率分别为63.85%、52.84%。
图源:wind需要警惕的是,天弘基金2021年发布的ETF产品数量最多,达12只,而其中有8只成立以来产品总回报率为负。如何提高在ETF领域的品牌效应,留住长期投资的资金,在竞争中站稳脚跟,成为业内和投资者关注的焦点。通过对比各类产品规模也能够发现,天弘基金非货币基金业务发展相对滞后,尤其是主动权益基金规模较小。截至2025年二季度末,主动权益类基金在169家基金公司中排名第39。如何吸引优秀人才的加入,强化固收业务,推动天弘基金的转型与创新,尤其是权益类业务,在激烈的公募行业依然是不小的挑战。
3
5年更换4位“掌舵人”,意在何为?
自2019年以来,天弘基金四易董事长,分别为井贤栋、胡晓明、韩歆毅、黄辰立。
回顾2019年10月8日,井贤栋离任董事长,胡晓明上任董事长;2021年5月21日,胡晓明离任董事长,郭树强代任董事长;2021年8月2日,韩歆毅上任董事长;至去年底,韩歆毅离任董事长,黄辰上任董事长。其中,胡晓明任期仅一年半左右;郭树强的代职则三个月不到。
目前董事长为黄辰立,自2024年11月15日,董事长韩歆毅因工作原因离任,蚂蚁集团副总裁黄辰立接过董事长的“帅印”。
图源:罐头图库
黄辰立自2013年加入蚂蚁集团后,迅速成长为副总裁,在金融和财务领域积累了深厚的经验与卓越的管理能力,其上任也被视为蚂蚁集团为天弘基金新一轮发展精心布局的关键一步。
不仅董事长变更频繁,总经理的变动也屡上“热搜”。
2023年7月,“掌舵”天弘基金长12年之久的总经理郭树强,因个人原因突然离任。在任期间,郭树强助力天弘基金资产管理规模连续七年稳坐万亿之上、实现过去三年资管规模近五倍增长的 “老将” 的离去,瞬间让市场聚焦天弘基金的未来走向。
随后,董事长韩歆毅临危受命,暂代总经理一职,扛起公司运营的重担。
图源:罐头图库
5个月后的2023年12月28日,来自博时基金的高阳正式走马上任,成为天弘基金新任总经理。高阳有着丰富的行业履历,曾在鹏华基金、博时基金担任重要职务,市场也对其寄予厚望。
进入2024年,高管变动的脚步并未停歇。同年3月29日,曾在华泰证券资管担任总经理的聂挺进加盟天弘基金,出任副总经理,分管主动权益业务。
2025年4月1日,天弘基金从浙商基金挖来权益“一哥”贾腾,担任天弘精选混合的基金经理。引进聂挺进和贾腾,也让外界猜测天弘基金将在权益业务方面寻求突破的强烈信号。
2025年4月14日,宏利基金原总经理、CIO高贵鑫入职天弘基金,担任总经理助理职务,分管券商及创新业务发展部、养老金投资部,兼任养老金投资部总经理。
就在5月份,原招商基金“老将”马龙加入天弘基金,彼时,根据公众号“基金人事”援引消息称,有说其一心想专注投研一线,仅从事基金管理工作。也有消息称,天弘给了马龙较高的待遇和职位,或将列入高管。
不过,目前从天弘基金的现任基金经理看,暂未发现马龙加入该公司担任基金经理。
自2013年起,蚂蚁集团成为第一大股东,天弘基金的发展战略与蚂蚁集团的整体布局也紧密相连。作为金融科技领域的巨头,蚂蚁集团自身业务不断演进,对天弘基金的战略定位也可能随之调整。
例如,随着金融科技在财富管理领域的深入渗透,蚂蚁集团或许期望天弘基金在数字化投研、智能财富顾问等创新业务方面加大投入,打造差异化竞争优势。在这种背景下,引入具有创新业务经验的高管和具有竞争优势的顶流经理,为投资者创造价值尤为必要。
你认为下半年天弘基金的两只光伏产品业绩能否逆转?是否买过他家的产品,看好哪位基金经理,业绩如何?
海量资讯、精准解读,尽在新浪财经APP
责任编辑:杨红卜 股合网
配配查提示:文章来自网络,不代表本站观点。